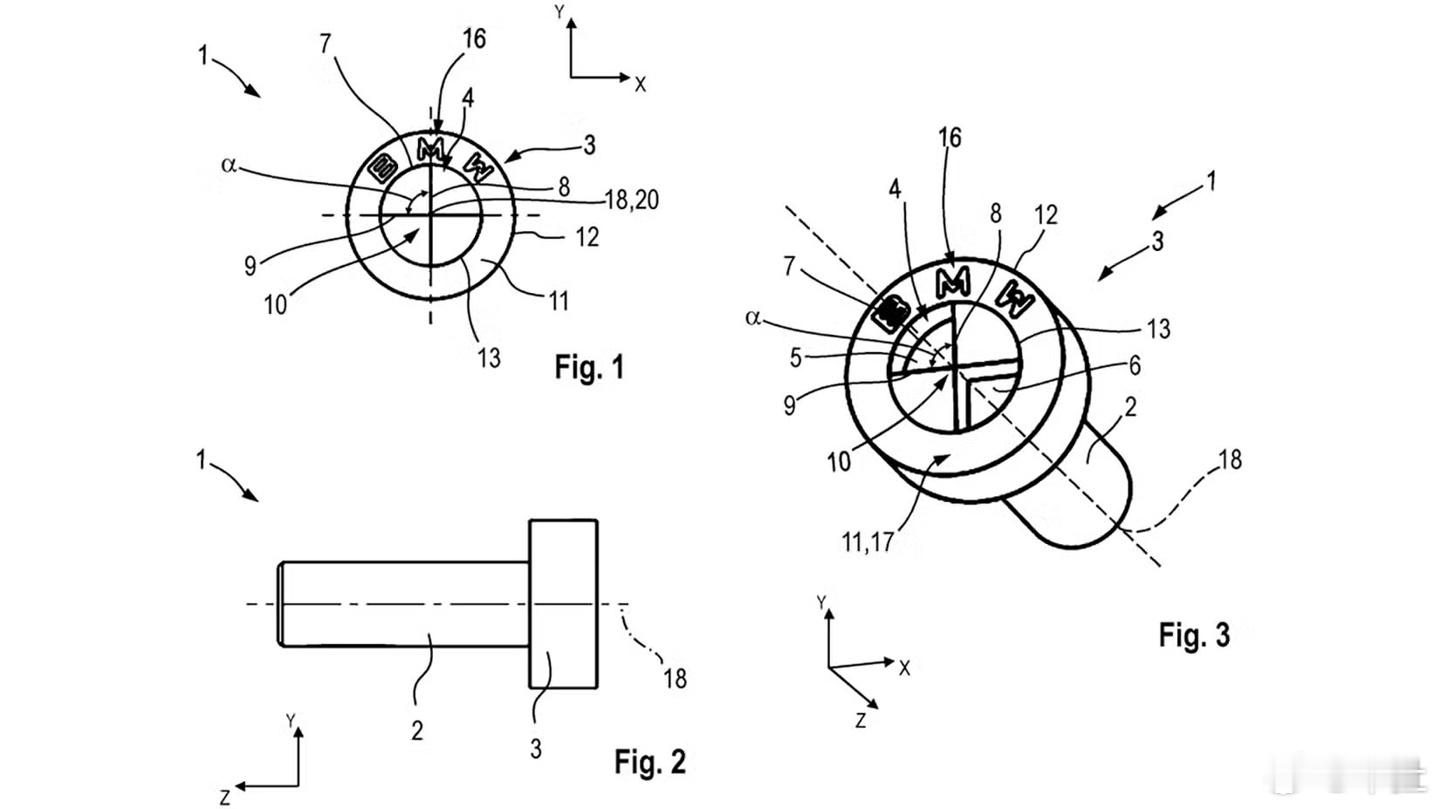
12月19日消息,海外媒体于今日发文披露,其在欧盟知识产权局(EUIPO)的数据库检索中发现,宝马提交了一项全新专利申请,涉及一款头部造型为品牌经典“蓝天白云”LOGO的防篡改螺丝。不同于常见的十字、一字或六角螺丝,这款新品的头部直接复刻了宝马圆形LOGO的轮廓。设计的巧妙之处在于,LOGO的四个扇形区域里,两个区域被设计为凹槽以承担受力功能,另外两个则与螺丝表面保持齐平,螺丝边缘还精细镌刻着宝马的字样。宝马

12月19日消息,海外媒体于今日发文披露,其在欧盟知识产权局(EUIPO)的数据库检索中发现,宝马提交了一项全新专利申请,涉及一款头部造型为品牌经典“蓝天白云”LOGO的防篡改螺丝。不同于常见的十字、一字或六角螺丝,这款新品的头部直接复刻了宝马圆形LOGO的轮廓。设计的巧妙之处在于,LOGO的四个扇形区域里,两个区域被设计为凹槽以承担受力功能,另外两个则与螺丝表面保持齐平,螺丝边缘还精细镌刻着宝马的字样。宝马

猜你喜欢
【15评论】【7点赞】
【1评论】【5点赞】
【80评论】【1点赞】
【10评论】【1点赞】
作者最新文章
热门分类
汽车TOP
汽车最新文章