【#揭秘冻干草莓检出农残涉事公司#】#含农残冻干草莓涉事公司去年减资#据新京报报道,一批来自福建漳州的冻干草莓,自检出重金属镉高达0.728mg/kg,同时还有20多种超范围使用的农药残留。涉事企业负责人称,通过检测确认问题出自上游厂家提供的原材料,并因此多次向上游厂家所在地的市监局举报。
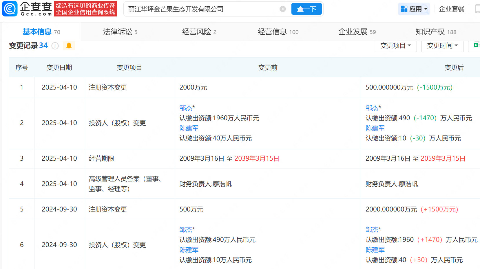
企查查APP显示,涉事的供应链公司丽江华坪金芒果生态开发有限公司成立于2001年3月,法定代表人为邹杰,经营范围包含食品生产、饮料生产、食品销售等,由邹杰、陈建军共同持股。变更记录显示,去年4月,该公司注册资本由2000万元减至500万元。
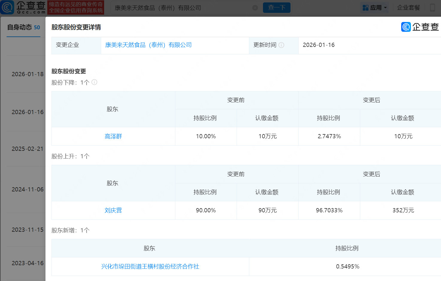
另一家涉事的康美来天然食品(泰州)有限公司成立于2014年5月,法定代表人为刘庆营,注册资本100万元,经营范围包含预包装食品批发与零售、食品添加剂销售等。变更记录显示,今年1月,该公司发生工商变更,新增兴化市垛田街道王横村股份经济合作社为股东。#冻干草莓 农药#



