特斯拉新专利曝光!单体复合座椅框架,座椅底座+靠背+铰链+侧翼,一体化热成型结构

又菱评汽车啊 2026-03-06 02:20:04

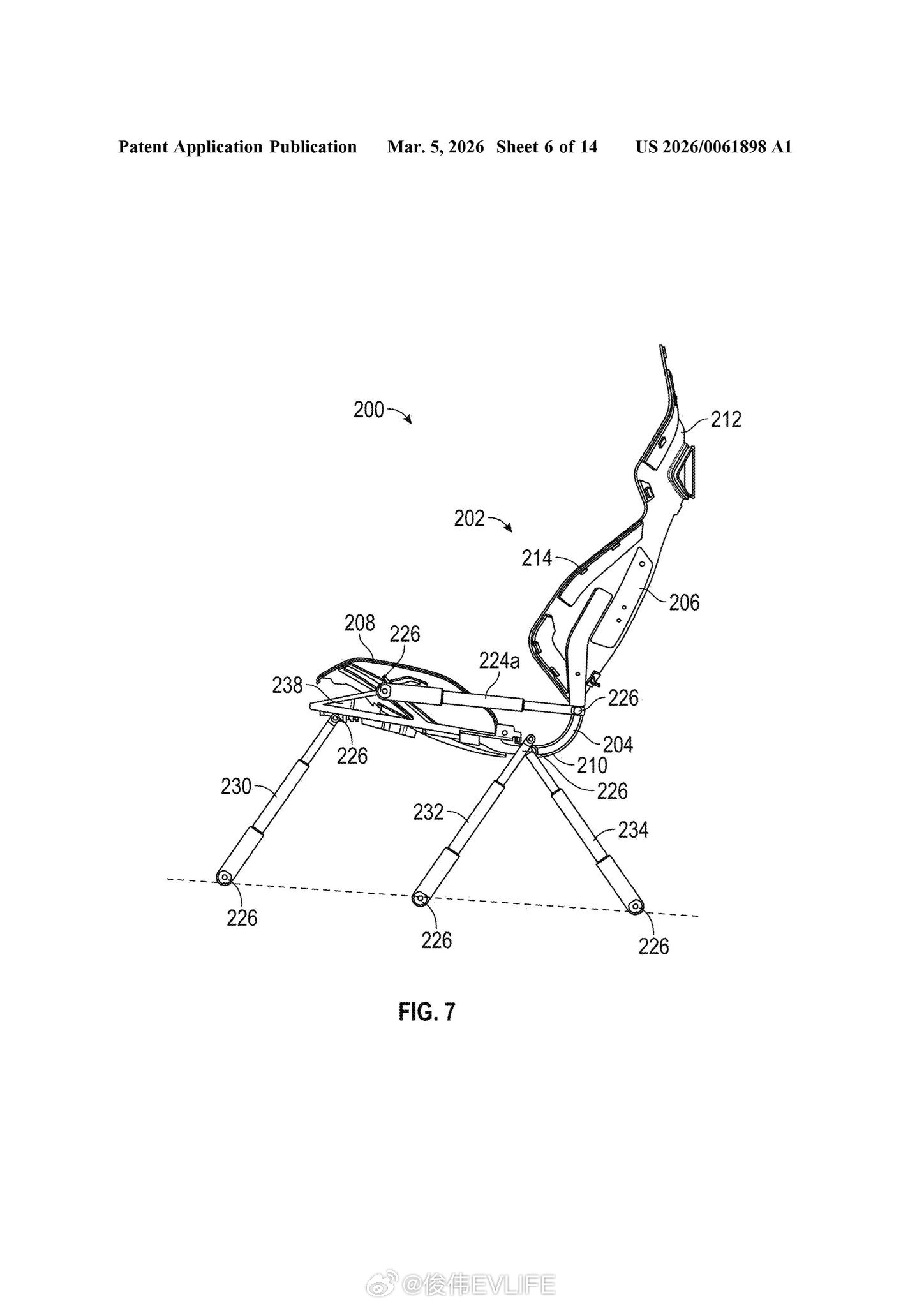
特斯拉新专利曝光!

单体复合座椅框架,座椅底座+靠背+铰链+侧翼,一体化热成型结构,从传统座椅几十个零件变成一个整体,减重+简化装配,专为高性能打造。6自由度调节,前后、高低、倾斜、靠背角度全电动调节,没有传统滑轨,像"悬浮"一样。智能支撑,不同部位刚度可调,过弯时侧翼自动撑住你,日常坐着又很舒服!文件信息透露,新专利未来不仅Roadster用,以后Cybercab无人出租车也可能配这个座椅。

特斯拉大v聊车

0 阅读:0
又菱评汽车啊

又菱评汽车啊

感谢大家的关注