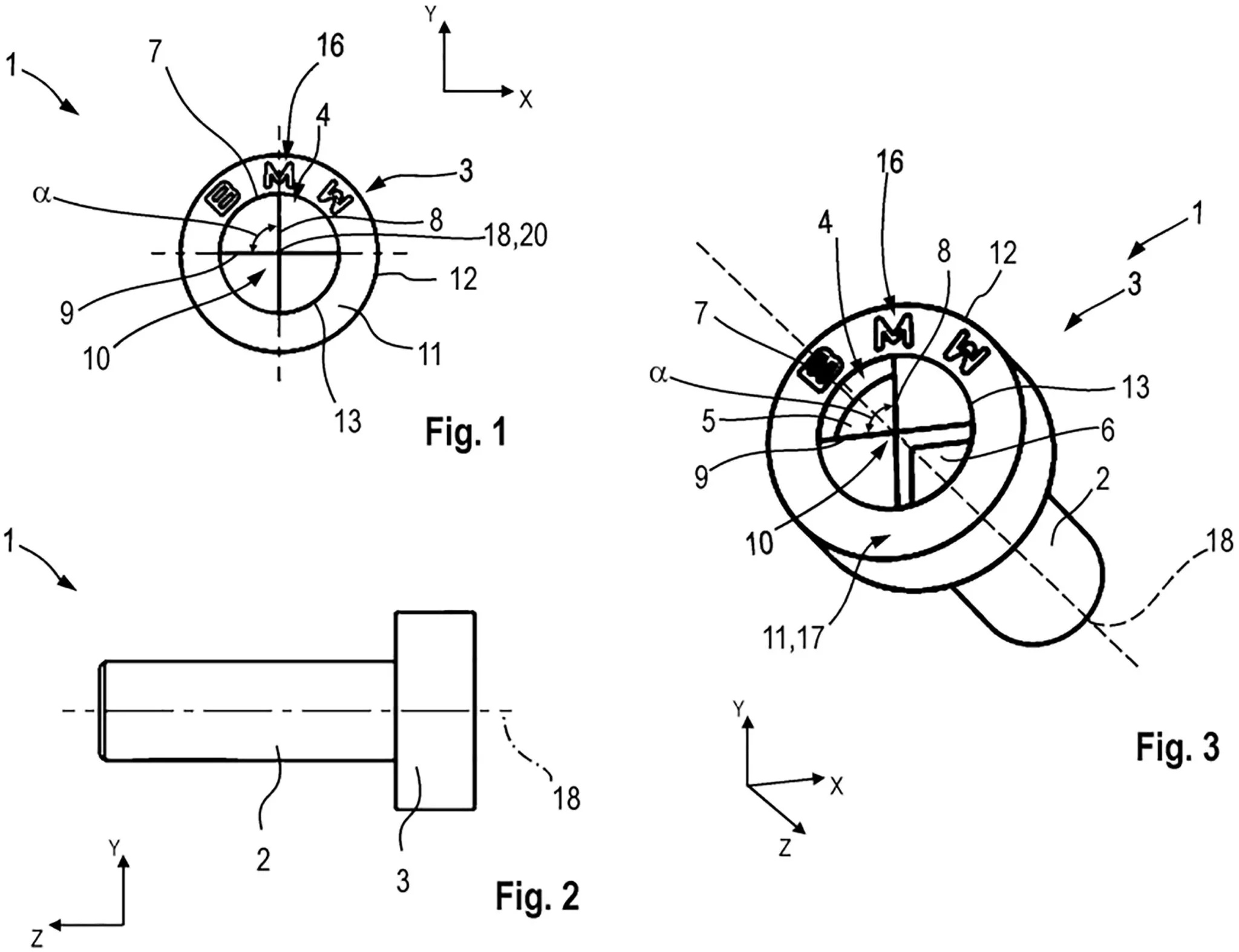
宝马提交了一系列有关螺丝的专利图纸,尝试将螺丝头弄成带品牌Logo的造型,不过很显然这种设计会给维修带来极大的不便,毕竟需要定制螺丝刀才能扭开~PS:图2是该款螺丝的假想图🧾 Carscoops宝马TC车闻
叹车说汽车
感谢大家的关注
作者最新文章
热门分类
汽车TOP
汽车最新文章