小米又要颠覆行业认知了,刚刷到小米汽车申报的一个桌体总成,打开来仔细看了下,这东

平凡直言说 2025-12-12 07:44:13

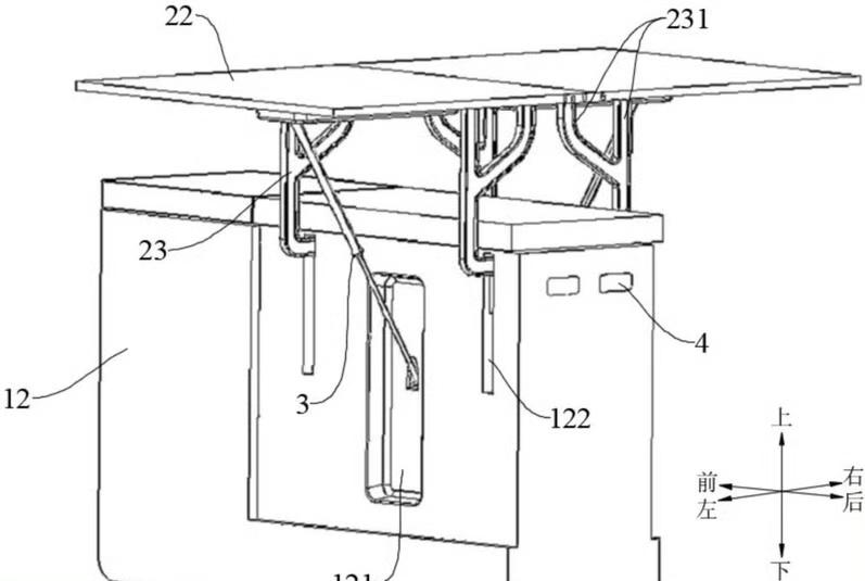
小米又要颠覆行业认知了,刚刷到小米汽车申报的一个桌体总成,打开来仔细看了下,这东西的体积可不算小,可折叠桌面加上一个工作台支撑。看起来就像是家庭的桌面拓展岛一样,属实有点大胆了。 目前市面上应该还没有那么大胆的设计,毕竟从大小和安装难度上,这个设计的落地确实比普通设定要难,难同样就等于贵,成本会大幅度提升。所以小米是真的下了成本和做高端设计的决心,这两年小米也吃了很多自主自创的红利,比如小米17的背屏设计,就带来了销量口碑的双重胜利。 以前吧,他们说小米会做外观,外观确实比市面上普设要好看的多。现在小米不仅保住了颜值,还在严抓质量,这回真就没得黑,也没得玩了。

0 阅读:15
平凡直言说

平凡直言说

感谢大家的关注